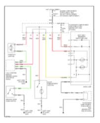
2000 Volvo S40 Wiring Diagram - 2000 Volvo S40 Engine Diagram Wiring Diagram System Parched Image Parched Image Ediliadesign It - Some volvo s40 wiring diagrams are above the page.. Volvo s40 04 v50 2006 wiring diagram. Each volvo repair manual contains the detailed description of works and wiring diagrams. View and download volvo s40 wiring diagram online. Volvo truck fault codes pdf; Volvo truck wiring diagrams pdf;

Discussion in 'volvo' started by suzukihonda, apr 9, 2016. In the structure of production of volvo trucks volvo fh owns the largest share, in 2006 the manufacturer sold over 40 thousand trucks of this series. Check out our popular volvo s40 manuals below: The program volvo ewd (electronic wiring diagram) contains the electrical circuits for automobiles volvo current models from 2004 to 2010 year. Volvo truck workshop manual free download pdf.

Diagramme Volvo V40 2000 Wiring Diagram Full Version Hd Quality Wiring Diagram Solastructures Puntimpresa It
Diagramme Volvo V40 2000 Wiring Diagram Full Version Hd Quality Wiring Diagram Solastructures Puntimpresa It from schematron.org
All volvo s40 & v40 i info & diagrams provided on this site are provided for general information purpose only. Here you will find fuse box diagrams of volvo s40 2004, 2005, 2006, 2007, 2008, 2009, 2010, 2011 and 2012, get information about the location of the fuse panels inside the car, and learn about the assignment of. The first generation saw peace in 1995. In the structure of production of volvo trucks volvo fh owns the largest share, in 2006 the manufacturer sold over 40 thousand trucks of this series. Volvo s40, v50 wiring diagram. Each volvo repair manual contains the detailed description of works and wiring diagrams. 2000 volvo s40 owner's manual en.pdf. The program volvo ewd (electronic wiring diagram) contains the electrical circuits for automobiles volvo current models from 2004 to 2010 year.

Volvo truck wiring diagrams free download.

Volvo s40 04 v50 2006 wiring diagram. Here you will find fuse box diagrams of volvo s40 2004, 2005, 2006, 2007, 2008, 2009, 2010, 2011 and 2012, get information about the location of the fuse panels inside the car, and learn about the assignment of. The program volvo ewd (electronic wiring diagram) contains the electrical circuits for automobiles volvo current models from 2004 to 2010 year. In the structure of production of volvo trucks volvo fh owns the largest share, in 2006 the manufacturer sold over 40 thousand trucks of this series. 2000 volvo s40 owner's manual en.pdf. 2000 volvo s40/v40 wiring diagrams en. Each volvo repair manual contains the detailed description of works and wiring diagrams. Volvo truck wiring diagrams pdf; Торговля запчастями volvo более 20 лет собственый техцентр по ремонту volvo огромный выбор новых и бу запчастей вольво в москве Volvo s40, v50 wiring diagram. Discussion in 'volvo' started by suzukihonda, apr 9, 2016. Check out our popular volvo s40 manuals below: View online wiring diagram for volvo s40 s other or simply click download button to examine the volvo s40 s guidelines offline on your desktop or laptop computer.

Volvo truck wiring diagrams pdf. View online wiring diagram for volvo s40 s other or simply click download button to examine the volvo s40 s guidelines offline on your desktop or laptop computer. Volvo truck fault codes pdf; 2000 volvo s40 owner's manual en.pdf. All volvo s40 & v40 i info & diagrams provided on this site are provided for general information purpose only.

Diagram Volvo V40 2004 User Wiring Diagram Full Version Hd Quality Wiring Diagram Penguindiagramm Sms3 It
Diagram Volvo V40 2004 User Wiring Diagram Full Version Hd Quality Wiring Diagram Penguindiagramm Sms3 It from d2yca1enuxtdrs.cloudfront.net
Volvo truck fault codes pdf; Volvo truck wiring diagrams free download. The first generation saw peace in 1995. View online wiring diagram for volvo s40 s other or simply click download button to examine the volvo s40 s guidelines offline on your desktop or laptop computer. Discussion in 'volvo' started by suzukihonda, apr 9, 2016. Volvo truck wiring diagrams pdf. Each volvo repair manual contains the detailed description of works and wiring diagrams. Here you will find fuse box diagrams of volvo s40 2004, 2005, 2006, 2007, 2008, 2009, 2010, 2011 and 2012, get information about the location of the fuse panels inside the car, and learn about the assignment of.

Check out our popular volvo s40 manuals below:

Discussion in 'volvo' started by suzukihonda, apr 9, 2016. The first generation saw peace in 1995. Here you will find fuse box diagrams of volvo s40 2004, 2005, 2006, 2007, 2008, 2009, 2010, 2011 and 2012, get information about the location of the fuse panels inside the car, and learn about the assignment of. Volvo truck wiring diagrams free download. Volvo s40 04 v50 2006 wiring diagram. Торговля запчастями volvo более 20 лет собственый техцентр по ремонту volvo огромный выбор новых и бу запчастей вольво в москве Volvo truck wiring diagrams pdf. All volvo s40 & v40 i info & diagrams provided on this site are provided for general information purpose only. Volvo truck workshop manual free download pdf. View and download volvo s40 wiring diagram online. Volvo factsheet volvo owner's manuals volvo sales brochures volvo service manuals volvo technical specs volvo wiring diagrams volvo press releases. Check out our popular volvo s40 manuals below: 2000 volvo s40 owner's manual en.pdf.

Volvo truck fault codes pdf; Volvo s40 04 v50 2006 wiring diagram. All volvo s40 & v40 i info & diagrams provided on this site are provided for general information purpose only. Each volvo repair manual contains the detailed description of works and wiring diagrams. The program volvo ewd (electronic wiring diagram) contains the electrical circuits for automobiles volvo current models from 2004 to 2010 year.

2004 Volvo S40 Radio Wiring Diagram Wiring Diagram Schema Hear Track A Hear Track A Atmosphereconcept It
2004 Volvo S40 Radio Wiring Diagram Wiring Diagram Schema Hear Track A Hear Track A Atmosphereconcept It from www.tehnomagazin.com
Volvo truck wiring diagrams pdf; All volvo s40 & v40 i info & diagrams provided on this site are provided for general information purpose only. Here you will find fuse box diagrams of volvo s40 2004, 2005, 2006, 2007, 2008, 2009, 2010, 2011 and 2012, get information about the location of the fuse panels inside the car, and learn about the assignment of. Some volvo s40 wiring diagrams are above the page. In the structure of production of volvo trucks volvo fh owns the largest share, in 2006 the manufacturer sold over 40 thousand trucks of this series. Volvo truck workshop manual free download pdf. Volvo truck wiring diagrams pdf. Volvo truck fault codes pdf;

Volvo factsheet volvo owner's manuals volvo sales brochures volvo service manuals volvo technical specs volvo wiring diagrams volvo press releases.

View and download volvo s40 wiring diagram online. View online wiring diagram for volvo s40 s other or simply click download button to examine the volvo s40 s guidelines offline on your desktop or laptop computer. Volvo truck fault codes pdf; Here you will find fuse box diagrams of volvo s40 2004, 2005, 2006, 2007, 2008, 2009, 2010, 2011 and 2012, get information about the location of the fuse panels inside the car, and learn about the assignment of. In the structure of production of volvo trucks volvo fh owns the largest share, in 2006 the manufacturer sold over 40 thousand trucks of this series. Discussion in 'volvo' started by suzukihonda, apr 9, 2016. Торговля запчастями volvo более 20 лет собственый техцентр по ремонту volvo огромный выбор новых и бу запчастей вольво в москве Some volvo s40 wiring diagrams are above the page. Volvo factsheet volvo owner's manuals volvo sales brochures volvo service manuals volvo technical specs volvo wiring diagrams volvo press releases. 2000 volvo s40/v40 wiring diagrams en. All volvo s40 & v40 i info & diagrams provided on this site are provided for general information purpose only. 2000 volvo s40 owner's manual en.pdf. Volvo s40 04 v50 2006 wiring diagram.

By